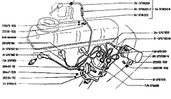
Наконечник свічки
в виде галереив виде списка

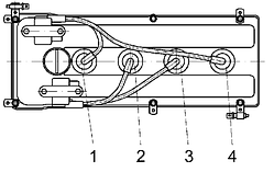
Наконечники Свічки Газель, дв.406,405 (з силіки.уплотн). (комп.4шт) (пр-во Європа) 4052-3707230 S_6627885 ₴Готово до відправки


Наконечник Свічки Газель, дв.406,405 (чорний) (колоп.4шт) (пр. Арзамас) 48-3707200 S_66279288 ₴Немає в наявності
